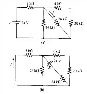
- Para o circuito mostrado na Figura 9.148(a), determine a corrente .
- Repita o item (a) para o circuito mostrado na Figura 9.148 (b)
- O teorema da reciprocidade foi atendido?

Passo 1
E ai seres de luz, tudo bem?
Bora resolver mais uma?
Encostaaa!!
- Vamos efetuar algumas modificações no circuito (a).
- Circuito modificado, temos:
- Como o valor da corrente é o mesmo nas partes (a) e (b), pode se verificar o teorema da reciprocidade.

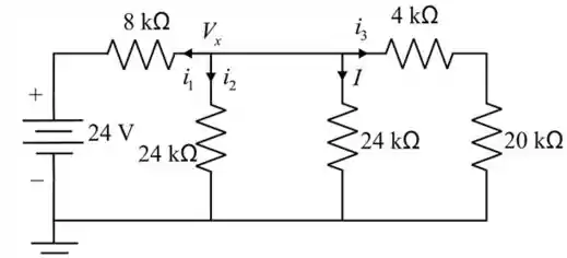
Aplicando a análise nodal ao circuito acima, temos
A corrente é
Portanto, a corrente é .
Passo 2

Aplicando a análise nodal ao circuito acima, temos
A corrente é
Portanto, a corrente é .
Passo 3
Resposta
- Portanto, a corrente é .
- Portanto, a corrente é .
- Verificado!