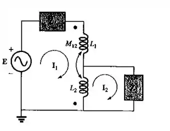
Escreva as equações de malha do circuito visto na Figura 21.66.

Passo 1
E ai seres de luz, tudo bem?
Bora resolver mais uma?
Encostaaa!!
Bom, temos que escrever as equações de malha para o circuito dado no enunciado.
Portanto, seja a corrente que flui através do lado primário, e seja a corrente que flui através do lado secundário.
Passo 2
A equação de malha para o loop 1, é
Aplicando a lei das tensões de Kirchhoff, iremos obter:
Passo 3
A equações de malha para o loop 2, é
Aplicando a lei das tensões de Kirchhoff, iremos obter:
Resposta
Portanto, as equações de malha para o Loop 1, é
Portanto, as equações de malha para o Loop 2, é