a) Usando o circuito mostrado na Figura 15.29, projete um filtro rejeita-faixa de banda estreita que tenha uma frequência central de e um fator de qualidade de 15. Use no projeto .
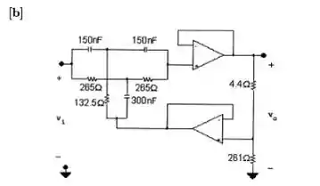
b) Desenhe o diagrama do circuito e identifique todos os valores dos componentes no diagrama.
c) Qual é a função de transferência do filtro?
Passo 1
Oiii tudo certo? Vamos lá resolver mais um problema juntos?!
Passo 2

Passo 3
E foi isso, vamos para a próxima! 😊
Resposta
b. 
c.