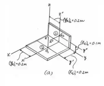
Determine os produtos de inércia , e ,da placa fina. O material tem uma densidade por unidade de área de.
Passo 1
O enunciado gurizada pede que a gente determine os produtos de inércia , e ,da placa fina. O material tem uma densidade por unidade de área de
As massas dos segmentos (1) e (2) mostradas na e . Por simetria, para segmento 1 e para segmento 2
Passo 2
